时隔多年,Google Glass开启了新时代。北京时间5月21日凌晨,在Google I/O开发者大会上,Google分享了Android XR取得的最新进展,并宣布与Gentle Monster、Warby Parker、XREAL等公司合作,联合发布新一代AR眼镜——Project Aura。同月,彭博社报道,苹果公司酝酿多年的智能眼镜项目浮出水面。这款代号“Orion”的穿戴设备研发进程远超预期,或将提前至2026年底至2027年初面世,较此前行业预测的2030年时间表大幅提前。
终端运行AI大模型的成本下降,给此前难以找到突破口的智能穿戴设备带来了新的机会,其市场发展也呈现出前所未有的高速增长趋势。
智能眼镜作为可穿戴设备的重要分支,是很好的穿戴设备应用场景,因为用户的“听、说、读、写”都围绕头部进行。但多功能集成化的发展趋势,给智能眼镜带来了新的挑战。智能眼镜集成了多种智能功能,耗电量相对较大,提升电池续航能力是智能眼镜的一个重要挑战。由于眼镜必须做到使用日常化,因此不能太重,如果重量超过50克,会使用户难以长时间佩戴。在现有电芯能量密度水平下,智能眼镜轻量化则会带来智能眼镜的电池容量有限,如果需要保证眼镜的随时可用,那么智能眼镜的电池尽量要做到随时可充。
目前市售智能眼镜产品的主要充电方式有以下几种:
1.通过充电线缆和眼镜镜腿连接充电

图源1:微信公众号“我爱音频网”的《拆解报告:RayNeo雷鸟V3智能眼镜》

图源2:微信公众号“充电头网”的《五种AI智能眼镜充电方式解析,两种你想不到》
2.通过眼镜盒内的充电触点连接眼镜镜腿充电

图源3:微信公众号“我爱音频网”的《拆解报告:RayNeo雷鸟V3智能眼镜》
图源4:微信公众号“我爱音频网”的《拆解报告:RayBan雷朋丨Meta Wayfarer智能眼镜》
3.通过无线充电器给智能眼镜充电
如华为X Gentle Monster Eyewear智能眼镜,这款眼镜收纳盒是一个充电仓,收纳盒里内置了电池,通过眼镜腿部的无线充接收电路,与充电盒中的发射电路对准,实现无线充电。

图源5:微信公众号“我爱音频网”的《拆解报告:华为HUAWEI X Gentle Monster Eyewear智能眼镜》
通过充电线缆连接眼镜镜腿对智能眼镜进行充电是目前最常见的充电方式,这种充电方式的优势在,充电线缆的技术成熟而且生产成本低。作为一项成熟技术,我们意外的发现有企业在2022年将其申请了实用新型专利且已经公开。
专利1
实用新型名称:一种AR眼镜充电装置
申请号:CN202223167671.6
申请日:2022年11月28日
公开(公告)号:CN219107082U
公开(公告)日:2023年05月30日

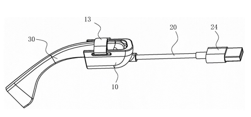
图6
该专利公开了一种AR眼镜充电装置(图6),包括充电座10和充电线20,充电座包括可拆卸安装于AR眼镜镜腿的壳体和用于将所述镜腿固定在所述壳体内的固定件13,充电座中设置有与所述充电线电连接的充电柱,壳体的结构与所述镜腿尾端的结构相适配,镜腿置于所述壳体中时,所述充电柱与所述AR眼镜的充电触点接触,通过固定件即可保证AR眼镜与充电装置的固定。
专利1于2022年11月28日申请,该申请日早于现在市售的大部分使用线缆充电的智能眼镜的发布日期。从专利1公开的内容分析,其最大的保护范围(独权保护范围)基本覆盖现在常见的通过与眼镜镜腿连接从而为智能眼镜充电的充电线缆。
由于充电线缆一般是和智能眼镜配套销售,因此专利1的专利权人是可以通过采用专利维权的方式限制市面上这些发布日期或上市日期晚于专利1申请日的智能眼镜的销售。也就是说,如果这些附带有充电线缆的智能眼镜,只要其发布日期或上市日期(以最早日期为准)晚于专利1的申请日,这些智能眼镜在销售过程中就面临专利侵权风险。一旦专利权人采取维权行动,就可以在一定程度上对这些智能眼镜的销售产生影响。
将一项行业内认为比较成熟的技术,结合一个新兴细分市场的具体产品进行实用新型专利申请并获得授权,这显然是利用了当时的实用新型专利审查制度。这样的专利其稳定性可能存疑,当智能眼镜企业在面临限制时可以选择现有技术抗辩或无效。但无论选择哪种方式,对企业经营、产品销售都将会产生影响。
为了降低因他人专利维权带来的负面影响,企业可以将相关的应对工作前置,以便于在面临专利侵权风险时,可以迅速处置。就专利1来说,我们找到一篇2014年申请并公开的发明专利。
对比专利1
发明名称:可穿戴式设备及其制造方法
申请号:CN201410345261.7
申请日:2014年07月18日
公开(公告)号:CN104146771A
公开(公告)日:2014年11月19日

图7
对比专利1公开了于一种可穿戴式设备及其制造方法,可穿戴设备包括主体和用于为主体充电的充电线(图)。充电线包括主体收容端和充电端;主体收容端形成有一用于容纳可穿戴式设备的主体的半空腔,半空腔的内表面上形成有两个充电端子,两个充电端子用于在可穿戴式设备的主体插接入所述半空腔时,与主体的两个充电触点电性接触相连;主体收容端的两个充电端子与充电端电性相连;充电端为通用串行总线USB接口、迷你通用串行总线MiniUSB接口、微型通用串行总线MicroUSB接口、30脚位pin接口和电源适配器中的至少一种。
对比专利1基本公开了专利1的权利要求1的内容。由于对比专利1并没有单独保护充电线缆(也就是对比专利1中的充电线),而且对比专利1所保护的可穿戴设备的主体与智能眼镜也相去甚远。因此如果智能眼镜厂商选择对比专利1中的充电线缆技术,那么一旦专利1的权利人进行维权,智能眼镜厂商可以选择对专利1进行无效或使用现有技术抗辩。
除了使用单条充电线缆(图1)给智能眼镜充电外,我们也看到了不少智能眼镜开始采用双线缆技术(图2),相关的专利文献也已公开。
专利2
实用新型名称:一种充电器
申请号:CN202222623453.2
申请日:2022年09月30日
公开(公告)号:CN218386888U
公开(公告)日:2023年01月24日

图8
本专利公开了一种充电器,用于为智能眼镜充电,包括第一接头、第二接头、第三接头和连接线,其中,第一接头包括第一座体组件,以及设置于第一座体组件上的第一充电组件和第一磁吸件;第二接头包括第二座体组件,以及设置于第二座体组件上的第二充电组件和第二磁吸件;第三接头包括第三座体组件,以及设置于第三座体组件上的第三充电组件;第一磁吸件与第二磁吸件形成磁吸配合后,第一座体组件与第二座体组件相连;第三充电组件的第一端通过连接线分别与第一充电组件的第一端和第二充电组件的第一端连接(图8)。
专利3
实用新型名称:充电装置和眼镜组件
申请号:CN202220920926.2
申请日:2022年04月20日
公开(公告)号:CN218243031U
公开(公告)日:2023年01月06日

图9
本申请实施例公开了一种充电装置和眼镜组件,解决了智能眼镜使用状态下不能充电的问题。具体方案为:充电装置包括:电池、充电线,以及负载组件,充电线具有相对的第一端和第二端,第一端与所述电池电连接,第二端与所述充电端可拆卸连接;负载组件与电池连接。其中,负载组件包括:用于穿戴的第一可穿戴结构,和/或,与第二可穿戴结构可拆卸连接的连接部。本申请实施例提供的充电装置可以为处于使用状态的智能眼镜充电,解决了现有的智能眼镜充电和使用不能同步进行的问题(图9)。
专利2和专利3都公开了双线缆充电技术,专利3的申请日早于专利2。相较于专利2,专利3的技术强调的是在智能眼镜使用时能同时充电,因此其充电线缆和电池连接。专利3中,给出了更多的实施例(图10、图11),这些实施例所对应的技术也已经出现在产品上(图12)。

图10

图11

图源12:微信公众号“充电头网”的《五种AI智能眼镜充电方式解析,两种你想不到》
智能眼镜各具特色的充电方式,为用户带来不同的使用体验。相较于目前使用范围最广泛的充电线缆式充电,通过眼镜收纳盒的内置电池随时对智能眼镜进行充电是相对便捷和自由的方式。目前市售产品中销量最高的雷朋Meta Wayfarer智能眼镜就是采用的这一方式,作为智能眼镜的第一款爆款产品,雷朋Meta Wayfarer智能眼镜对充电方式的选择以及市场的反馈,代表着终端用户的心声。除雷朋Meta Wayfarer智能眼镜外,各品牌也在探索自己的通过眼镜收纳盒的内置电池进行充电的功能。雷鸟RayNeoV3智能眼镜通过在眼镜收纳盒内部提供两组充电触点(图3),从而实现按照任意顺序折叠左右镜腿都能通过眼镜收纳盒的内置电池为智能眼镜进行正常充电的功能。
智能眼镜要像手机或智能手表一样普及,续航和充电体验是关键。用户讨厌频繁充电,更讨厌充电麻烦——谁能忍受戴着眼镜突然没电的尴尬呢?
从线缆充电到无线充电仓,各品牌正不断优化解决方案。未来,更轻便、更高效的充电技术将成为竞争焦点。